大東海泵業無錫有限公司是一家專業的化工泵生產廠家。在客戶化工泵選型時,我公司水泵廠家會提供完善的化工泵型號、化工泵價格等售前服務,以供客戶參考,并且我水泵廠家能為客戶提供定制泵業產品的服務。本條產品資訊是關于怎樣給化工泵機械密封過濾雜質的知識:

密封介質中往往會由于介質本身(如漿液、油漿等)含有固體顆粒、易結晶、結焦等性質,在一定工作條件下出現固體顆粒,還有一些特殊用途
化工泵的密封(如塔底泵、釜底泵的密封)在系統中有殘渣、鐵銹、污垢,甚至于安裝時有殘留雜物,都會給
化工泵機械密封帶來較大的危害。除去固體顆粒等雜質是機械密封系統的一種基本功能,可采用過濾器或旋液分離器來除去系統中的雜質。
①過濾器 我國機械行業標準JB/T 6632-1993《離心泵機械密封系統用過濾器》規定的機械密封系統用過濾器分為兩種形式:GL型為濾網過濾(見圖5-88);GC型為磁環加濾網過濾(見圖5-89)。承壓方向為單向和雙向兩種。基本參數為:額定壓力1.6 MPa、6.3 MPa;額定溫度150℃;過濾精度50μm、100μm;接口尺寸Rp 1/2、Rp 3/4。
濾網過濾器結構簡單,通常在沖洗或循環管中串聯使用。含固體雜質的密封介質由一端進入,通過濾網從另一端流出,雜質留在過濾網內,定時取出濾網清除雜質可重復使用。
磁性過濾器由******磁鐵和濾網與其他元件組成。過濾網孔為25~100/zm,以減少過濾器的阻力,其流量為1~4 m3/h,通常成雙并聯安裝在管路上,以便于交替切換使用。

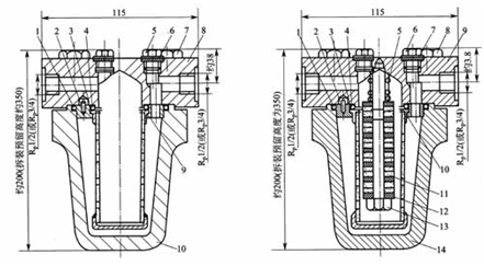
②旋液分離器 旋液分離器(簡稱旋液器)是利用離心沉降原理來分離固體顆粒(顆粒密度大于化工泵密封流體的密度)的器件,其分離精度可達微米級。我國機械行業標準JB/T6633-1993《機械密封系統用旋液器》規定的機械密封系統用旋液器分為ZSA型與ZSB型兩種形式(見圖5-90),其工作參數為:壓力范圍0.4~6.3MPa;工作溫度為-20~200℃;工作流量2~8 L/min;工作介質為含固相顆粒的液體。
密封旋液器的安裝尺寸應符合表5-45的規定。
表5-45 旋液器的安裝尺寸 /mm
|
型號 |
D |
Do |
H |
Ho |
d |
h |
m |
|
ZSA |
64 |
30 |
152 |
205 |
|
34 |
G1/2
φ22×σ |
|
ZSB |
80 |
30 |
190 |
|
2 7 |
47 |

注:φ管子外徑;σ管子壁厚。
圖5-90密封旋液分離器
非常感謝您對大東海泵業無錫有限公司官方網站的訪問!以上是關于怎樣給
化工泵機械密封過濾雜質的介紹,如您對此問題還想深一步了解,或有其他泵業產品、水泵選型、水泵型號、水泵價格的問題需要解答,請聯系本水泵廠家,大東海泵業還生產
管道泵,隨時歡迎您的咨詢。謝謝!